D71X對夾式蝶閥
D71X 手動對夾式軟密封蝶閥結構緊湊,90°回轉開關輕松,密封可靠,使用壽命長,被廣泛用于水廠、電廠、鋼廠、造紙、化工、飲食等系統供排水中,作為調節和截止使用。
概述
D71X 手動對夾式軟密封蝶閥結構緊湊,90°回轉開關輕松,密封可靠,使用壽命長,被廣泛用于水廠、電廠、鋼廠、造紙、化工、飲食等系統供排水中,作為調節和截止使用。
特點
1、D71X 手動對夾式軟密封蝶閥采用雙偏心結構,具有越關越緊的密封功能,密封性能可靠。 2、密封副材料選用不銹鋼和丁腈耐油橡膠配對,使用壽命長。
3、橡膠密封圈即可位于閥體上,也可以位于蝶板上,可適用不同特點的介質,供用戶選擇。
4、蝶板采用框架結構,強度高,過流面積大,流阻小。
5、整體烤漆、能有效地防止銹蝕且只要更換密封閥座密封材料,就可使用于不同介質。
6、本閥具有雙向密封功能,安裝時不受介質流向的控制,也不受空間位置的影響,可在任何方向安裝。
7、本閥結構獨特,操作靈活,省力,方便。
執行標準
| 制造標準 | GB/T 122387-89 |
| 法蘭標準 | GB9113-2000、GB17241.6-1998 |
| 結構長度標準 | GB12221-89 |
| 檢驗標準 | GB/T 13927-92 |
主要技術參數
| 公稱通經DN(mm) | 50~2000 | 50~1600 | |
| 公稱藥理PN(MPa) | 0.6 | 1.0 | 1.6 |
| 密封試驗(MPa) | 0.66 | 1.1 | 1.76 |
| 強度試驗(MPa) | 0.9 | 1.5 | 2.4 |
| 適用溫度 | 丁腈橡膠:-40℃~90℃氟橡膠:-20℃~200℃ | ||
| 適用介質 | 水、空氣、天然氣、油品及弱腐蝕性流體 | ||
| 泄漏率 | 符合GB/T13927-92標準 | ||
| 驅動方式 | 蝸輪傳動、電動、氣動、液動 | ||
主要零部件材料
| 零件名稱 | 材料 |
| 閥體 | WCB、QT450-10、HT200、HT250 |
| 蝶板 | WCB、QT450-10、HT200、HT250 |
| 閥軸 | 2Cr13 |
| 密封圈 | 丁腈耐油橡膠 |
| 填料 | 柔性石墨 |
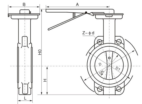
主要外形連接尺寸

| DN | L | H | HO | A | B | 0.6MPa | 1.0MPa | 1.6MPa | |||
| DO | n-d | DO | n-d | DO | n-d | ||||||
| 50 | 43 | 63 | 235 | 270 | 110 | 110 | 4-14 | 125 | 4-18 | 125 | 4-18 |
| 65 | 46 | 70 | 250 | 270 | 110 | 130 | 4-14 | 145 | 4-18 | 145 | 4-18 |
| 80 | 46 | 83 | 275 | 270 | 110 | 150 | 4-18 | 160 | 8-18 | 160 | 8-18 |
| 100 | 52 | 105 | 316 | 270 | 110 | 170 | 4-18 | 180 | 8-18 | 180 | 8-18 |
| 125 | 56 | 115 | 340 | 310 | 110 | 200 | 8-18 | 210 | 8-18 | 210 | 8-18 |
| 150 | 56 | 137 | 376 | 310 | 110 | 225 | 8-18 | 240 | 8-22 | 240 | 8-22 |
| 200 | 60 | 164 | 430 | 353 | 150 | 280 | 8-18 | 295 | 8-22 | 295 | 8-22 |
| 250 | 68 | 206 | 499 | 353 | 150 | 335 | 12-18 | 350 | 12-22 | 355 | 12-26 |
| 300 | 78 | 230 | 570 | 380 | 150 | 395 | 12-22 | 400 | 12-22 | 410 | 12-26 |
|
||||||||||||||||||||||||
![]() |
||||||||||||||||||||||||
| ||||||||||||||||||||||||










